Гидроборт Atek Lift DMA2500-3000
Для особо сложных задач необходима "тяжёлая артиллерия" серии DMА – гидравлические борта DMА 2500 и DMА 3000 с грузоподъёмностью 2500 кг и 3000 кг соответственно.
Отказавшись от стандартной 600-миллиметро-вой точки загрузки платформы, компания Atek Lift оснастила серию DMА платформой с точкой загрузки 850 мм. Дизайн этой серии разрабатывался специально с целью уменьшения износа оборудования в особо тяжёлых условиях эксплуатации. Благодаря полностью усовершенствованной конструкции корпуса и поршней, а также новой платформе повышенной прочности ALM3 в стандартной комплектации, гидравлическим бортам из серии DMА по плечу любой груз.
Характеристики
Размеры платформы
| Тип | Ширина | Высота | Масса нетто |
| ALM4 | 2500мм | 1700мм | 150 кг |
| ALM4 | 2570мм | 1800мм | 155 кг |
| ALM4 | 2570мм | 2000мм | 167 кг |
| Стальная | 2200мм | 1800мм | 250 кг |
| Стальная | 2500мм | 1800мм | 300 кг |
Точка загрузки
| a(mm) | Q(кг) | ![]() | |||||||
| 1000 | 2500/3000 | ||||||||
| 1250 | 1900/2250 | ||||||||
| 1500 | 1350/1900 | ||||||||
| 1700 | 1100/1700 | ||||||||
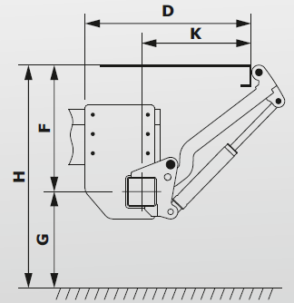
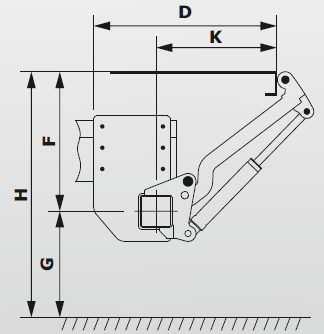
Параметры подъёмного механизма
| Подъёмный рычаг | 750мм | 820мм. | 950мм | 1020мм | ![]() | ||||||
| H | 1260мм | 1300мм | 1490мм | 1650мм | |||||||
| F (макс.) расстояние между осн. Балкой и точкой загрузки | 650мм | 685мм | 780мм | 895мм | |||||||
| G (макс.) | 610мм | 615мм | 710мм | 755мм | |||||||
| D (мин.) монтажный размер, минимальный | 685мм | 735мм | 827мм | 795мм | |||||||
| F (мин.) | 250мм | 300мм | 400мм | 400мм | |||||||
| D (макс.) монтажный размер, максимальный | 937мм | 1018мм | 1120мм | 1185мм | |||||||
| Масса гидравлического борта | |||||||||||
Комплектация
В базовую комплектацию гидравлического борта DMA2500-3000 входят:
- алюминиевая или стальная платформа;
- подъёмный механизм с четырьмя гидравлическими цилиндрами;
- гидравлическая станция 12В или 24В, в шумопоглощающем корпусе;
- колеса из синтетических материалов для защиты платформы в лежачем положении на земле;
- 4-кнопочный пульт дистанционного управления со спиральным кабелем подъема / опускания, открытия / закрытия платформы;
- ручное аварийное управление на всех электрических клапанах
- выключатель питания аккумуляторной батареи отдельно от силового агрегата.
- оцинкованные все металлические детали подъемного механизма.
- выносной пульт управления HRC.
Применение
Данная модель гидравлического борта подходит для транспортных средств:
- Газон все серии
- Iveco EuroCargo
- Isuzu
- Ford Cargo
- Mercedes - Benz Atego, Axor, Actros и т. д.
( И схожих грузовых автомобилей)
Грузоподъемность
2.5 т, 3 т
Вольтаж
24В





