Гидроборт Atek Lift DMT 2000
Профессиональное решение для TIR ATEK Lift DMT2000 — это высокопрочная система подъемного борта, специально разработанная для полуприцепов. В отличие от стандартных грузовых подъемников, она спроектирована с учетом конструкции полуприцепа и обеспечивает безопасный и сбалансированный подъем на автомобилях с длинной рамой и большим объемом груза.
Данная система разработана специально для логистических автопарков, осуществляющих погрузку больших объемов на регулярной основе.
DMT2000 спроектирован для полной совместимости с I-образными рамами полуприцепов. Благодаря подвесной системе крепления монтаж может быть выполнен без сверления отверстий в раме. В результате:
- сохраняется целостность рамы;
- не нарушается оригинальность автомобиля;
- отсутствует риск структурного ослабления;
- обеспечивается профессиональный и чистый монтаж.
Такая конструкция дает автопаркам значительные преимущества как с технической, так и с юридической точки зрения. Благодаря расположению балансирных рычагов между двумя лонжеронами рамы во время погрузки не возникает никаких препятствий. Такая конструкция:
- обеспечивает свободное рабочее пространство под платформой;
- позволяет легко маневрировать с поддонами;
- повышает скорость операций;
- снижает количество происшествий на площадке.
Это дает значительное преимущество, особенно на объектах, не оборудованных складским пандусом.
Характеристики
Размеры платформы
| Тип | Ширина | Высота | Масса нетто |
| ALM45 S | 2500 мм | 1800 мм | 122 кг |
| ALM45 S | 2500 мм | 1600 мм | 127 кг |
| ALM45 S | 2200 мм | 1800 мм | 137 кг |
| ALM45 S | 2200 мм | 1600 мм | 150 кг |
Точка загрузки
| a, мм | Q, кг | ![]() | |||||||
| 750 | 2000 | ||||||||
| 1000 | 1500 | ||||||||
| 1500 | 750 | ||||||||
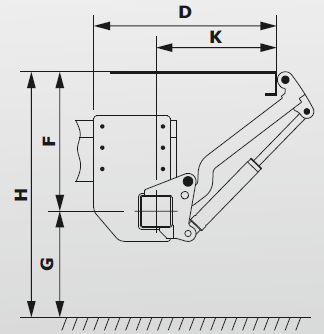
Параметры подъёмного механизма
| Подъёмный рычаг, мм | 750 | 820 | 880 | 950 | ![]() | ||||||
| H, мм | 1235 | 1320 | 1430 | 1510 | |||||||
| F (макс.) расстояние между осн. балкой и точкой загрузки, мм | 635 | 685 | 730 | 780 | |||||||
| F (мин.), мм | 250 | 300 | 350 | 400 | |||||||
| G (макс.), мм | 600 | 635 | 700 | 730 | |||||||
| D (макс.) монтажный размер, максимальный, мм | 950 | 1045 | 1070 | 1120 | |||||||
| D (мин.) монтажный размер, минимальный, мм | 680 | 760 | 790 | 840 | |||||||
Комплектация
В базовую комплектацию гидравлического борта DM1500 L входят:
- алюминиевая платформа;
- подъёмный механизм с четырьмя гидравлическими цилиндрами;
- гидравлическая станция 24В, в шумопоглощающем корпусе;
- колеса из синтетических материалов для защиты платформы в лежачем положении на земле;
- 3х-кнопочный пульт дистанционного управления со спиральным кабелем подъема / опускания, открытия / закрытия платформы;
- ручное аварийное управление на всех электрических клапанах
- выключатель питания аккумуляторной батареи встроенный в стационарный пульт.
Также доступны различные дополнительные опции.
Грузоподъемность
1.5 т
Вольтаж
12В, 24В
разное
в наличии!





