Гидроборт Atek Lift P3 750 Стоимость 520 000
ATEK Lift P3 750 — это универсальный компактный гидроборт, разработанный для автомобилей класса N1. Благодаря конструкции, которая позволяет использовать одну и туже основную раму с различными крепежными элементами, он спроектирован для адаптации к разным типам шасси.
Серия позволяет использовать один и тот же корпус подъемника с различными крепежными элементами. Это обеспечивает:
- возможность монтажа на несколько типов шасси;
- снижение затрат на складские запасы;
- стандартизированное решение для автопарков.
P3 750 обеспечивает стабильную производительность подъема благодаря гидравлической системе, оснащенной 2 цилиндрами складывания и 1 подъемным цилиндром. Специально разработанный для автоматической системы складывания цилиндр с эффектом памяти контролирует поведение платформы под нагрузкой.
Такая конструкция:
- предотвращает резкие движения;
- обеспечивает устойчивость под нагрузкой;
- повышает безопасность оператора.

Характеристики
Размеры платформы
Точка загрузки
| |
Параметры подъёмного механизма
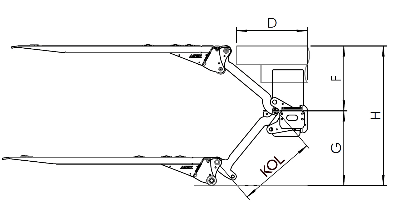
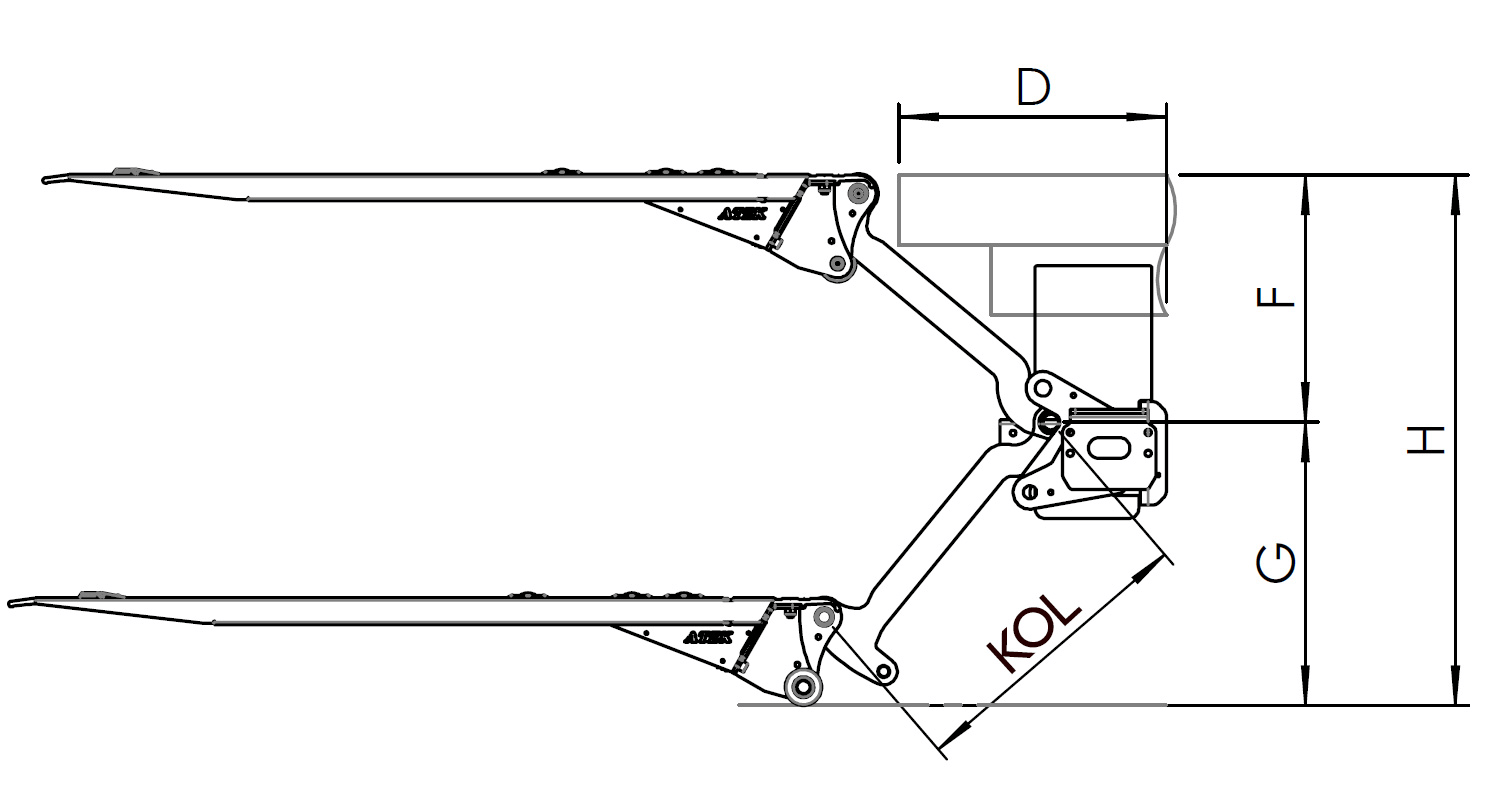
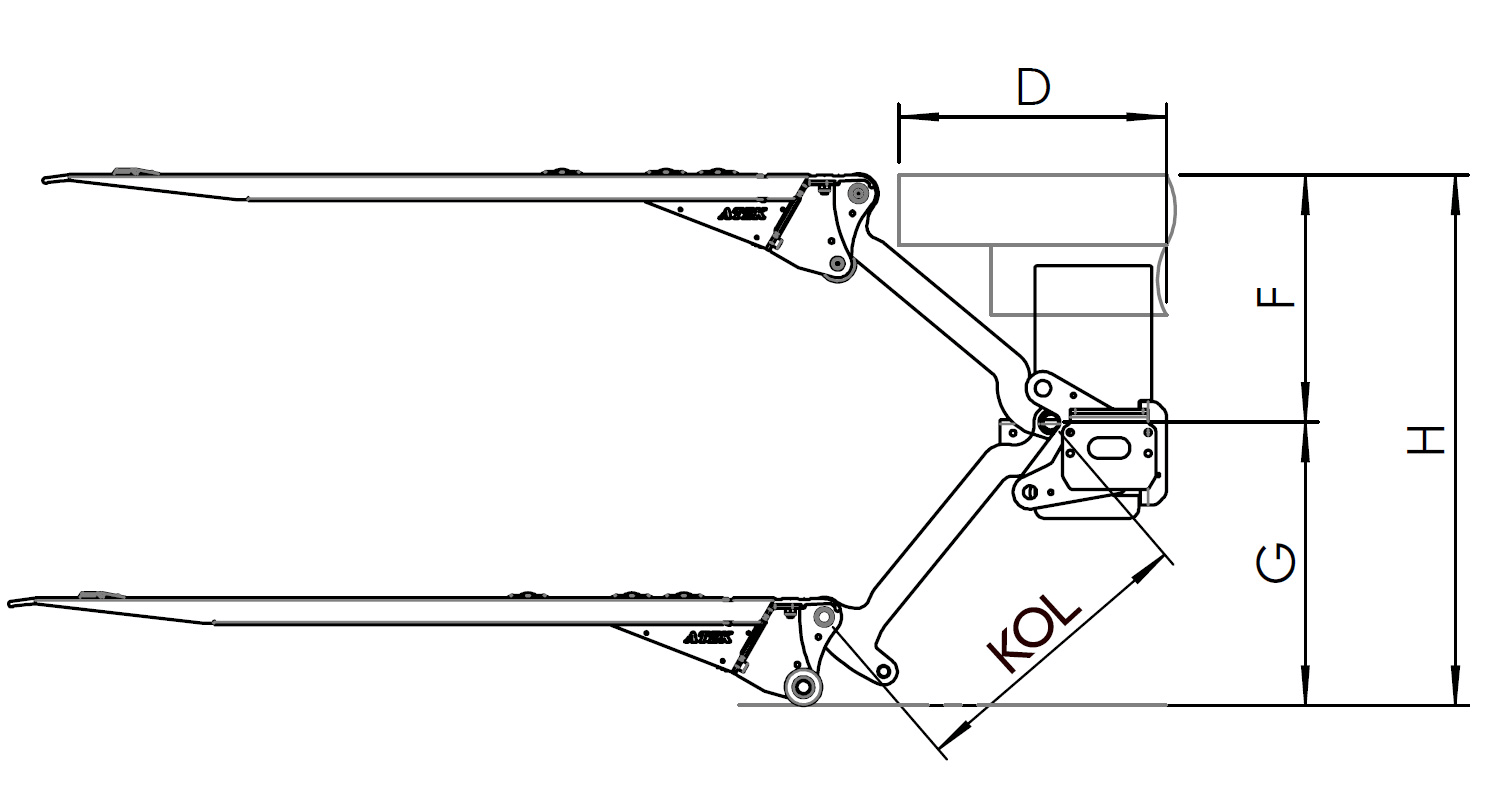
| Подъёмный рычаг, мм | 650 | ![]() | ||||||
| H | 1060 | |||||||
| F (макс.) расстояние между основной балкой и точкой загрузки, мм | 510 | |||||||
| F мин., мм | 250 | |||||||
| G макс., мм | 550 | |||||||
| D макс., максимальный монтажный размер | 705 | |||||||
| D мин., минимальный монтажный размер | 620 | |||||||
Скачать технические характеристики
Комплектация
В базовую комплектацию гидравлического борта P3 750 входят:
- алюминиевая платформа;
- подъёмный механизм с четырьмя гидравлическими цилиндрами;
- гидравлическая станция 12В/24В в шумопоглощающем корпусе;
- колеса из синтетических материалов для защиты платформы в лежачем положении на земле;
- 3-х кнопочный пульт дистанционного управления со спиральным кабелем подъема/опускания, открытия/закрытия платформы;
- ручное аварийное управление на всех электрических клапанах;
- выключатель питания аккумуляторной батареи встроенный в стационарный пульт управления.
Также доступны различные дополнительные опции.
Применение
Данная модель гидравлического борта подходит для транспортных средств:
- Газель все серии
- Газон все серии
- Foton
- Jac
- Shacman
- Dongfeng
- HOVO
- И другие Китайские производители
- Ford Transit
- Mercedes-Benz Sprinter
- Fiat Ducato
- Renault Master
- Iveco Daily 35
- VW Crafter
- MAN TGE
- ( И схожих грузовых автомобилей)
Грузоподъемность
1 т
Вольтаж
12В, 24В
разное
в наличии!





