Гидроборт Atek Lift DM2000
Для транспортировки более тяжёлых грузов подходят гидравлические борта серии DM с грузоподъёмностью 2000 кг, предназначенные для грузовых автомобилей всех типов с общей несущей способностью от 7,5 тонн и выше. Они оснащены технологией автоматизированного механического откидывания и четырьмя гидроцилиндрами, а также болтовыми крепёжными плитами. Гидравлические борта серии DM легко встраивается в кузов грузовика, превращая его в идеальное средство для городских и региональных грузоперевозок.
Характеристики
Размеры платформы
| Тип | Ширина | Высота | Масса нетто |
| ALM45 S | 2500мм | 1800мм | 122 кг |
| ALM45 S | 2500мм | 1600мм | 127 кг |
| ALM45 S | 2200мм | 1800мм | 137 кг |
| ALM45 S | 2200мм | 1600мм | 150 кг |
Точка загрузки
| a(mm) | Q(кг) | ![]() | |||||||
| 750 | 2000 | ||||||||
| 1000 | 1500 | ||||||||
| 1500 | 750 | ||||||||
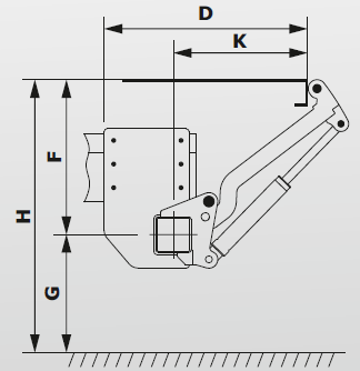
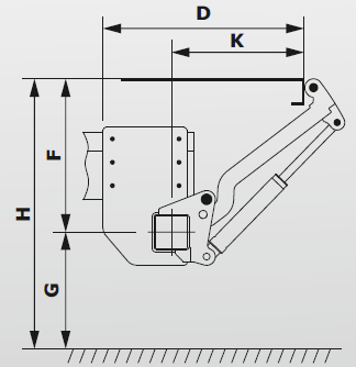
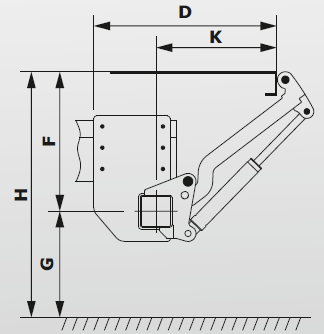
Параметры подъёмного механизма
| Подъёмный рычаг | 750мм | 820мм | 880мм | 950мм | ![]() | ||||||
| H | 1235мм | 1320мм | 1430мм | 1510мм | |||||||
| F (макс.) расстояние между осн. Балкой и точкой загрузки | 635мм | 685мм | 730 | 780мм | |||||||
| G (макс.) | 600мм | 635мм | 700 | 730мм | |||||||
| D (мин.) монтажный размер, минимальный | 680мм | 760мм | 790 | 840мм | |||||||
| F (мин.) | 250мм | 300мм | 350 | 400мм | |||||||
| D (макс.) монтажный размер, максимальный | 950мм | 1045мм | 1070 | 1120мм | |||||||
Комплектация
В базовую комплектацию гидравлического борта DM2000 входят:
- Алюминиевая или стальная платформа;
- подъёмный механизм с четырьмя гидравлическими цилиндрами;
- гидравлическая станция 12В или 24В, в шумопоглощающем корпусе;
- колеса из синтетических материалов для защиты платформы в лежачем положении на земле;
- 3х-кнопочный пульт дистанционного управления со спиральным кабелем подъема / опускания, открытия / закрытия платформы;
- ручное аварийное управление на всех электрических клапанах
- выключатель питания аккумуляторной батареи встроенный в стационарный пульт.
- стационарный пульт управления серии Atek PRO.
Также доступны различные дополнительные опции.
Применение
Данная модель гидравлического борта подходит для транспортных средств:
- Газон все серии
- Камаз все серии
- Маз
- Foton
- Jac
- Shacman
- Dongfeng
- HOVO
- И другие Китайские производители
- Iveco
- Isuzu
- Ford Cargo
- Mercedes - Benz Atego, Axor, Actros и т. д.
- ( И схожих грузовых автомобилей)
Грузоподъемность
2 т
Вольтаж
24В
разное
в наличии!
Если вы хотите купить гидроборт Atek Lift DM2000 , вы можете:
Позвонить:





