Гидроборт STV2 В наличие!!! Стоимость 520 000 с НДС
В наличие!!!
Стоимость 520 000 с НДС
STV2 – уникальное решение для автомобилей фургонного типа. Гидравлический борт из серии STV2 обладает грузоподъёмностью 500 кг, оснащён платформой с точкой загрузки 600 мм, четырьмя гидроцилиндрами: двумя подъёмными и двумя наклонными. Пульт управления гидравлического борта STV2 представлен в нескольких комплектациях, что позволяет приспособить механизм под нужды заказчика.
Характеристики
Размеры платформы
| Тип | Ширина | Высота | Масса нетто |
| ALM2 | 1450 мм | 1600 мм | 70 кг |
Габариты подъемной платформы могут быть индивидуальны под заказ.
Точка загрузки
| a(mm) | Q(кг) | ![]() | |||||||
| 600 | 500 | ||||||||
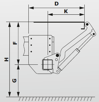
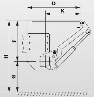
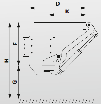
Параметры подъёмного механизма
| Подъёмный рычаг | 670мм | ![]() | ||||||
| H (макс.) | 800мм | |||||||
| H (мин.) | 500мм | |||||||
| F (макс.) расстояние между основной балкой и точкой загрузки | 375мм | |||||||
| K (мин.) при данном значение F (макс.) | 650мм | |||||||
| D (мин.) монтажный размер, минимальный | 750мм | |||||||
| Масса гидравлического борта | 100 кг | |||||||
Комплектация
В базовую комплектацию гидравлического борта STV2 входят:
- алюминиевая платформа;
- подъёмный механизм с четырьмя гидравлическими цилиндрами;
- гидравлическая станция 12В или 24В, в шумопоглощающем корпусе;
- 4х-кнопочный пульт дистанционного управления со спиральным кабелем подъема / опускания, открытия / закрытия платформы;
- ручное аварийное управление на всех электрических клапанах
- выключатель питания аккумуляторной батареи встроенный в силовой агрегат
- спец. крепление для короткого свеса.
Также доступны различные дополнительные опции.
Совместимость
Данная модель гидравлического борта подходит для транспортных средств:
- Газель все серии
- Mercedes-Benz Sprinter
- Volkswagen Crafter
- Iveco Daily
- Renault Master
- Ford Transit
- Fiat Ducato
- Citroen Jumper
- Peugeot Boxer
- ( И схожих грузовых автомобилей)
Производитель
Atek Lift
Грузоподъемность
0.5 т
Вольтаж
12В, 24В
Если вы хотите купить гидроборт STV2 , вы можете:
Позвонить:




