Гидроборт для фургонов Atek Lift S4V 700 Стоимость 520 000 с НДС
Гидроборт ATEK Lift S4V-700 выходит за рамки стандартных решений для цельнометаллических фургонов, заменяя собой предшествующую серию STV2, которая выпускалась с 2012 года и успела доказать свою надежность за многие годы эксплуатации. Данная модель разработана для более тяжелых грузов и более интенсивных операций. Благодаря 4-х цилиндровой гидравлической системе, она выводит на стабильность и подъемную мощность в новом уровне.
Эта модель превращает фургоны из простых развозных автомобилей в профессиональное погрузочно-разгрузочное оборудование. 4-х цилиндровая гидравлическая архитектура S4V-700 обеспечивает сбалансированное и мощное движение платформы. Такая конструкция обеспечивает дополнительную устойчивость к неравномерному распределению груза.
✔ Платформа не прогибается под нагрузкой
✔ Минимизированы боковые раскачивания
✔ Стабильное движение даже с тяжелыми поддонами
✔ Конструкция, подходящая для длительного использования
✔ Безопасная езда без вибраций благодаря механизму блокировки платформы S4V-700 разработан не для нескольких доставок в день, а для развозных автомобилей, работающих в непрерывном режиме.
Для модели характерны:
- более высокая грузоподъемность;
- отсутствие потери производительности при интенсивном использовании;
- усиленная конструкция платформы;
- быстрая система открывания;
- увеличенные интервалы технического обслуживания.
Благодаря этому для операторов сокращается время простоя и повышается непрерывность операций.
С увеличением размера груза, безопасность становится еще более критичной. Благодаря контролируемому характеру гидравлического движения S4V-700 позволяет оператору безопасно управлять платформой. Поскольку с увеличением грузоподъемности подъемника возрастает и нагрузка на специальные шасси фургонного типа, необходима установка оборудования, которая идеально соответствует автомобилю, не нанося вреда шасси.
✔ Сбалансированный подъем и спуск
✔ Стабильность платформы
✔ Безопасная зона погрузки
✔ Низкий уровень вибрации


Характеристики
Размеры платформы
| Тип | Ширина | Высота | Масса нетто |
Габариты подъемной платформы могут быть индивидуальны под заказ.
Точка загрузки
| a, мм | Q, кг | ![]() | |||||||
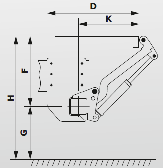
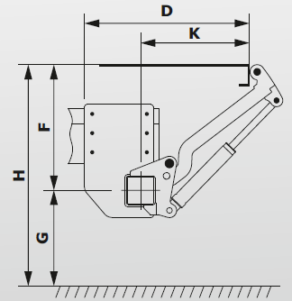
Параметры подъёмного механизма
| Подъёмный рычаг | 670 | ![]() | ||||||
| H | 800 | |||||||
| F (макс.) расстояние между основной балкой и точкой загрузки | 385 | |||||||
| F (мин.) | 150 | |||||||
| D (мин.) монтажный размер, минимальный | 705 | |||||||
| D макс. | 775 | |||||||
Скачать технические характеристики
Комплектация
В базовую комплектацию гидравлического борта S4V 700 входят:
- алюминиевая платформа;
- подъёмный механизм с тремя гидравлическими цилиндрами;
- гидравлическая станция 12В в шумопоглощающем корпусе;
- 3х-кнопочный пульт дистанционного управления со спиральным кабелем подъема / опускания, открытия / закрытия платформы;
- радио пульт управления
- ручное аварийное управление на всех электрических клапанах
- выключатель питания аккумуляторной батареи
- спец. крепление для короткого свеса.
Также доступны различные дополнительные опции.
Совместимость
Данная модель гидравлического борта подходит для транспортных средств:
- Газель все серии
- Ford Transit
- Iveco Daily
- VW Crafter
- Fiat Ducato
- Mercedes-Benz Sprinter
- MAN
- Peugeot Boxer
- Renault Master
- Foton
- Jac
- Shacman
- Dongfeng
- HOVO
- И другие Китайские производители
Грузоподъемность
0.5 т
Вольтаж
12В, 24В
разное
в наличии!





